开发者社区
影刀学院
帮助中心
查找符合条件的数据进行点击元素如何操作
回答
收藏
开发者社区
>
问答
>
详情
>
查找符合条件的数据进行点击元素如何操作
邹
邹新欣
2025-09-26 13:58
·
浏览量:194
邹
邹新欣
发布于
2025-09-26 13:58
194浏览
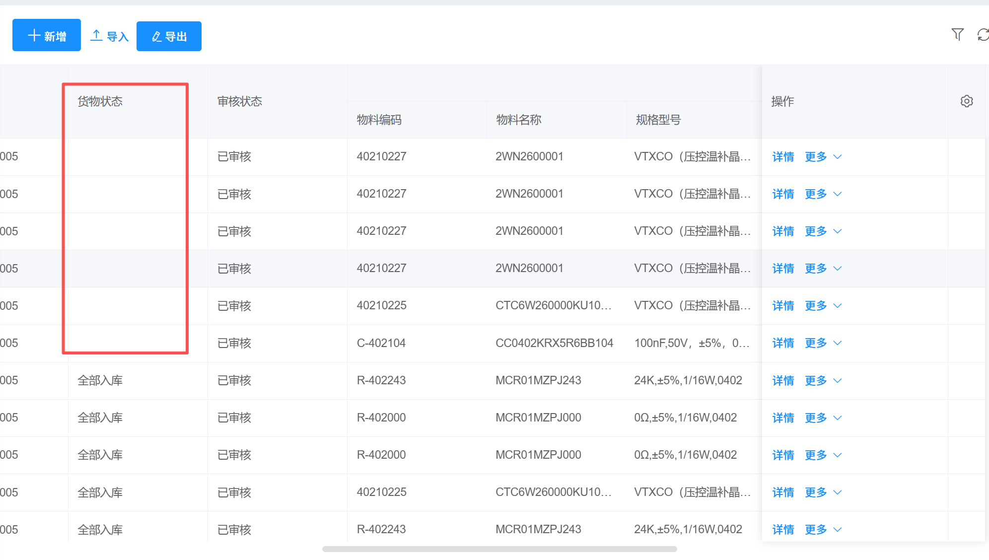
查找符合条件的数据进行点击如何操作?
根据货物状态,去点击更多里的操作
收藏
全部回答
(
1
)
最新
发布回答
回答